Published: 2025-04-14

Innovating Responsibly: AI Regulation, Sustainable Developments and Challenges

Sunil Arora , Durga Chavali , Naga Santhosh Reddy 

1-10

Exploration Of Recommendation System for Service Discovery

S. V. Shinde , Tushar Shitole  , Sangam Mundhe , Shivani Kalamkar , Vikrant Rajput

11-15

Stock Market Price Prediction Using LSTM

Sanika J. Desai  , Kabir G. Kharade 

16-19

Sugarcane Crop Disease Detection

Akshay Chavan, Ashutosh Desai , K. S. Oza

20-27

Text Summarization Using a Hybrid Approach

Sajjan Dattatray   Kharade, Aftab Chandmiya Parande , Kabir G Kharade

28-32

Book Recommendation System using Machine Learning

Onkar A. More , Shubham S. Kore, Kabir G. Kharade

48-53

Detecting Social Anxiety with Online Social Network Data

Snehal K. Kulkarni , Bhagyashri K. Gudale , Kabir G. Kharade 

54-60

Fake Logo Detection

Bhushan T. Devane  , Abhishekh A. Dhavale, Smita V. Katkar 

61-64

Bone Fracture Detection Using Resnet50 Algorithm

Omkar Sachin Khaire , Prathmesh Babaso Pandav , Kavita P. Mali, Kabir G. Kharade 

76-81

Disease Detection In Grapes Using CNN

Mahesh A Mali , Bhakti P Jadhav , Kabir G Kharade 

82-85

Technology-Enabled Coaching Education and Certification Systems

Pravin R. Birmule , Sangramsing S. More , Ganesh M. Lawangare 

93-96

Urbanshield: Integrated Vehicle Security and Road Safety System For Metropolitan City

Sumit Gupta, Shruti Sakshi, Sonia Kolay, Mohammad Chulawala , Pradnya Karekar , Alka Shrivastava , Shraddha Sharma

107-118

Voice-Guided Data Structure Implementation and Visual Representation

Ayaz Ahmed khan, Adakki Sai Uday Kiran, Md Ubaid Junaid Ahmad khan, Sheikh Asad Ahmad Dilshad Ahmad, Aditya Hemant Patil, Sankalp Kore

119-122

“Mind Lift” – PersonalTherapist

Namrata Khade, Aarohi Dabrase, Anushka Bodekar, Payal Bansod, Sanskarika Khode

123-128

Recognition and Automation System for Hand Gestures

Rita Bhawalkar, Utkarsha Thote, Sneha Ashtankar, Sandhya Patil (Kamble), Saurabh Vyas

129-136

E-Commerce Website Service

Divya Badwaik, Rita Bhawalkar, Somesh Sharma, Khushbu Sheikh, Divyansh Katakwar

137-142

Auto Rain Shield for Clothes

Arshiya Nayeem Sheikh, Nikhat Sikandar Ansari, Aditi Sunil Kanojiya, Sayyad Muskan

143-146

Blockchain Based Image Steganography

Samina Anjum, Aiman Ahmed, Rohini Kurup, Sahil Kidiya, Sheezen Kureshi

147-152

Voice Assistant Based Food Serving Robot

Leena Patil, Nisha Bhute, Tisha Kunwar, Kareena Fulsunge, Leena Thakre, Snehal Khobragade

153-157

NLP Enhanced Smart Calendar

Qudsiya Naaz, Afifa Harmain, Ahmed Umme Aiman, Shital Bagde, Javeriya Khan

158-162

Cold Email Generator Using LLM

Ritesh Shrivastava, Adiba Sheikh, Afaque Khan, Raunak Bagde, Anzar Khan

163-166

Mass Email Automation With AWS SES And Lambda (Alexa Integration)

Saima Zareen Ansari, Parth Pandey, Soha Haroon Noorani, Ritesh Sahare

167-174

Accident Alert System

Imteyaz Shahzad, Hina katre, Tanvi Datarkar, Swity Dhoke, Sofiya Khan, Rohit Kinkar, Junaid khan

175-178

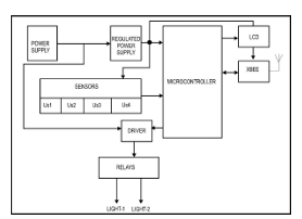
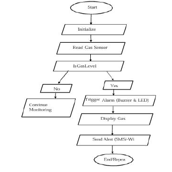
LPG Leakage Detection System

Samina Anjum, Saniya Sheikh, Iqra Aafreen, Anshu Manapure, Ayman Naaz

179-183

Intelligent platform to Interconnect Alumni and Student For Educational Institutes

Pranav Shende, Jagdish Pimple, Bhumika Verma, Mayank Gotmare, Angela Charde, Shravani Kapse

193-197

Smart Electronic Voting Machine

Mohd. Anwarul Siddique, Anam Baig, Mahek Sheikh, Aaliya Arshiya, Maheshwari Mutthawar, Sufiya Khan

198-202

Generative Ai Coding Tech - An Advance Pathway

Anwarul Siddiqui, Dipti Bagde, Insherah Ahewer, Saniya Ali, Shifa Qureshi, Nasreen Ansari, Varsha Singh

203-207

Placement Management Hub

Samina Anjum, Saurabh Kanojiy, Imran Sheikh, Zohair Ahmad

208-213

ExecuChat: A Secure AI-Integrated Web-Based Chat Application with Code Debugging and Execution

Qudsiya Naaz, Mirza Rehan Beg, Hasnain Raza Khan, Hasib Ur Rahman

214-218

RFID Smart Attendance System Using Face Recognition

Imteyaz Shahzad, Dipanshu Badge, Om Fukat, Chetan Buradkar, Ayush Choudhary

219-221

Lost and Found Platform

Ritesh Shrivastava, Mohammad Owais, Mohammad Zaid, Mohammad Noman, Mohammad Maaz

222-225

IOT Based On Building the Future: Designing the Consistent Space Stations & Moon Colony/Mars Colony

Sejal Bhadke  , Sanika Suryawanshi  , Pallavi Parate , Sanjana Tirpude , Ajay Nanwatkar

226-230

Navigating the Digital Frontier: Security and Privacy Challenges in India

Asawari Arvind Kale , Anshul Manohar Narad , Somesh Ravindra Taywade , Chetan Ramesh Digraskar  , Ajay Nanwatkar 

231-235

Security And Challenges in Embedded Systems Protecting Against Cyber Threats

Bhavik Denge , Bhushan Denge , Yash Channe , Krishana Chaudhari  , Madhura Naralkar 

236-239

IoT in Agriculture – Precision Farming Using Sensors and AI

Sneha mishra , Ritik Junghare , Khushi Mishra  , Sai Chaitanya Nishthala  , Rahul Lihare 

240-243

Cloud - Based Data Analytics

Anam Sayyad , Supriya Sontakke, Gulnaz Pathan, Arya Zode, Rupesh Bangre

244-247

The Impact of Artificial Intelligence on Job Market

Harshada Murme, Vaishnavi Dakhare, Vaishnavi Bisane, Sapana Rao, Sakshi Wankhede

248-254

Big Data Analytics in Banking Industry

Pooja Nagdeve , Monali Pandhram , Krutika Deshmukh  , Shivam Jirapure  , Madhura Naralkar 

255-258

Machine Learning for Liver Cirrhosis Disease Detection

Nikhil Agashe, Nikita Jaiswal, Yogita Patil, Shweta Sahare, Rupesh Bangre

259-263

Data Pilot Dashboard

Gitesh Kund, Tejas Mokale, Praneet Mane, Abhijeet Rangari, Madhura Naralkar

264-268

Deep Learning for Sentiment Analysis: A Survey

Pradhnya Pimpalkar, Gayatri Ingle, Renuka Sonewane, Vijaya Lad, Rupesh Bangre

269-272

Artificial Intelligence for Climate Changes Solution

Aanchal Tiwari, Akansha Gahane, Avinash Thakare, Rohit Kumbhare, Rahul Lilhare

273-276

Securing Internet of Things (IoT) Devices in Healthcare: Challenges and Solutions

Abhishek P. Kadu, Ujwal D. Date, Sparsh P. Gundhare, Sahil P. Choudhari, Ajay Nanwatkar

277-280

Cryptography in Digital Payments: Ensuring Secure and Trustworthy Financial Transactions

Mayank  S. Dudhe, Harsh A. Patil, Rahul Z. Thawkar, Kunal D. Mohrale, Rahul Lilhare

281-284

A Comprehensive Study of Quantum Computing: Principles, Applications and Its Impact on Future Technologies

Jayshree Tarare , Harshika Chimankar , Minakshi Janbandhu , Chetna Turkar  , Ajay Nanwatkar 

285-291

Result Paper on ProctorSecureAI: Enhancing Exam Integrity with Artificial Intelligence

P. S. Takawale , Gaikwad Amruta  , Jadhav Sneha  , Mane Rutuja  , Pawar Rohan

292-295

Outcomes of Association with a Fellow in Advancing Technical Education

A. B. Gavali, Gophane Divya Anil, Gaikwad Pooja Mahesh, Tupsamudre Pushpak Dattatray, Bhukan Pritam Eknath

296-301

Result Paper on Air Writing Recognition Using Machine Learning Algorithms

Y. L. Tonape, Haral Abijeet, Parkale Sudarshan, Pawar Rohit, Pawar Sandesh 

302-307

Result Paper on Assist Vision: Enhancing Accessibility for the Visually Impaired

V. G. Bharane , Honmane Vishal  , Jadhav Vrushali , Nigade Shweta , Suryawanshi Divya

308-311

Result Paper on Interviewello: AI Mock Interview WebApp

Y. L. Tonape, Kapse Shreyas, Bhagwat Niraj, Jadhav Rushikesh, Mane sahil

312-316

Result Paper on Implementing Secure Authentication in Node.js for Web Applications

Y. L. Tonape, Kamble Namrata Surendra, Kale Pragati Ramchandra, Mane Divya Shrimant, Rajepandhare Sakshi Yogesh

317-320

Design Paper On Hydro Track And Automatic Water Dispenser

A. B. Gavali, Sanika B Kemdhare, Roshni A Mulani, Safa R Mulani, Lalita S Pardhi

321-324

Blockchain Driven Next Generation Supply Chain

S. T. Shirkande, Misal Shubham, Mhaske Suhas, Salunkhe Arti, Mendke  Dilip

325-329

Campus Recruitment System using Machine Learning

J. N.  Ekatpure, Sneha Dhanaji Mohite, Akanksha Ankush Shinde, Nikita Bibhishan Shirkande, Vaishnavi Vikram Upase

330-333

Literature Survey Paper on Predictive Analysis of Financial Markets

V. G. Bharane, Rajamne Atharv Amol, Patil Shubham Anil, Abhishek Sanjay Pohare

334-336

Sign-Speaks From Audi-Scan

A. B. Gavali, Pooja Sopan Fulari, Jadhav Amruta Anil, Shinde Shubhangi Babasaheb, Surve Apeksha Annasaheb

436-442

Blockchain-Based Framework for Transparent, Immulate and Secure Vaccine Supply Chains

Y. L. Tonape, Patil Santosh Kakaso, Sartape Pratik Suresh, Shaikh Mohseen Iqbal

443-448

Artificial Intelligence based virtual keyboard and mouse for computer

J. N. Ekatpure, Tavate Chaitanya Suresh, Malshikare Sahil Sandip, Khomane Avishkar Bapu, Tamboli Mohamad jaid Latif

449-456

Result Paper On “Mobile Theft-Prevention System”

V. S. Nalawade  , Shubham S Shinde  , Pravin D Takmoge  , Saiprasad P Shirsat , Swaraj B Wagh 

457-464

An Automated Fraud Detection of Hall Ticket in an Offline Examination System

A. B. Gavali  , Tushar T Bhagat, Omkar R Bhange , Pankaj G Bhagat , Akash S Ejagar

465-471

A Survey on IoT-Enabled Smart Ambulance Systems for Enhanced Emergency Response and Rescue Operations

Deepali Narwade , Arjunsingh Rajput ,  Ishwar Gadade, Vedant Shewale , Ayaan Taj , Amar Sonawane

472-474

SmartNews: AI-Powered News Summarizer

Abha Pathak  , Trupti Pawar, Yogeshwari Pawar , Shreya pawar

475-481

An Android approach towards Women Safety Application

Ashutosh Chandgude, Bhagwat Varun Satish, Dange Om Raghunath  , Pawar Gaurav Ambarsing  , Ahire Pratik Kisan , Ahire Harshal Pradip 

482-487

A Hybrid Hospital Framework Using AI Chatbots for Real-Time Assistance and Data Management

Ashwin Shelke , Deep Shelke  , Suraj Pawar  , Abha Pathak 

488-497

Securing children from inappropriate and harmful things on the Internet

Akanksha Deshmukh, Sejal Jadhav, Omkar Bankar, Santosh Kawade

498-503

Student Helpdesk System

Hareram Wadekar, Aditya Yadav , Abha Pathak 

512-515

Design and Implementation of an AI-Powered Desktop Assistant Using Python and NLP

Srushti Kulkarni  , Niraj Suryawanshi , Abhishek Shengar , Abha Pathak

516-519

-Smart Agriculture Monitoring System Using CNN and IoT for Crop Disease Detection and Real-Time Environmental Analysis

Alpana Adsul , Sumedh Patil, Piyush Shamkule , Pravin Chandore , Satyam Badakh

520-528

Aerial Pharmacobotany

Vedant Lanjekar , Yash Wase , Janvi Patil , Sneha Patki , Akash Suradkar , Mayuri M. Fegade

529-537

A Blockchain-Powered Voting System for Enhanced Accuracy, Security, and Voter Confidence

Mohini Dhanure, Rooturaj Kalaskar, Shreya Bhange, Aakansha Kadam, Suraj Bhoite

538-542

Travel Buddy Application Using Machine Learning

Prasad Gophan, Akanksha Gore, Ganesh Totare, Niranjan Ithape, Suraj Bhoite

543-546

Autopod: An AI-Driven Framework for Automated Podcast Production and Optimization

Gayatri Dhumal, Aditya Khomane, Jayshree Mergal, Triveni Pandit, Dipannita Mondal

553-558

Emerging Paradigms in Artificial Intelligence and Advanced Technologies

Atharva Kulkarni, Mayuri Fegade, Deepali Narwade, Suraj Bhoite, Payal Babar

559-562

Automated Retinal Analysis Using Deep Convolutional Networks

Boril Rishikesh Yogesh, Salgar Hariom Ramesh, Sunil Yadav

563-569

QuickFix: Automated Ticket Management Platform

Shivani Gadkari, Shivam Kumar, Linesh Sonawane, Abha Pathak

570-577

TOM: Smart Academic Management System

Mahesh Sumb, Omkar Sawant, Tanmay Shingote, Abha Pathak

578-583

Smart Regional Alert and Navigation System

Sairaj Jadhav, Sujata Jadhav , Minakshi Ghodella , Hardik Jain , Dipannita Mondal

590-596

Fraud Detection in Banking using ML

Deepali Narwade, Mukesh Vadgav, Om Bambale

597-606

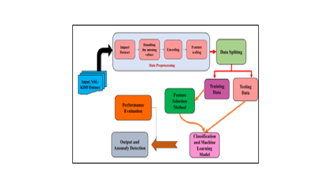
Enhancing Cybersecurity with AI : Anomaly Detection and Threat Prevention Approaches

Om Kalyankar, Nikita Shinde, Saurabh Koturwar, Asmeeta Mali

614-622

Breast Cancer Detection System Using Machine Learning

Shreyali Khobragade, Ishwar Sambhale, Atharv Mahajan, Dipannita Mondal

623-626

A review paper on An Analysis of AI-Assisted Automatic PCB Defect Identification

Ram N. Khandare , Yogesh Nagvekar , Khushi Gajare , Gargi Ahei

627-631

Predictive Analysis of Financial Market

V. G. Bharane  ,  Shubham Anil Patil , Atharv Amol Rajmane  , Abhishek Sanjay Pohare

632-639

AI Powered Resume Parser for Enhanced Recruitment Process

Akshaya D. Patil, Ayushman D. Swain, Shweta S. Nashikkar Urvashi B. Patil, Dr. Poonam N. Railkar

640-656

Revolutionizing Resume Building with Intelligent ATS Optimization To Boost Career Development And Employability

Singh Siddharth Shravan Kumar , Thakur Kuldeep Bhimsingh, Singh Trupti Kaushlendra, Chitnis Anaya Prasad, Ms. Vaishali Harish Salvi, Ms. Akshata Satyawan Patil, Mrs. Manali Parate, Ms. Shraddha Sharma

657-664

Generative AI Concepts for Data Privacy Protection, Understanding the Potential Risk Mitigation

Paritosh Biswas, Dr. Syed Umar, Ramu Mannava, Jyothinadh nadella, Vinay Chowdary Dabbara, Dr.Ramesh Safare

665-672

AI-Driven Complaint Management for Rail

Prof.D.B. Deshmukh, Shubham Chavan , Aryan Gunaware , Yash Patole, Manish Sutar

673-676

Large Language Model – Based Query Generation

Prof.Vinay.S. Nalawade, Shubham Kolase, Shital Devkar, Dnyaneshwari Patil

677-680

Fusion Track: Disk Space Renting System Using Blockchain

Dr. A. B. Gavali, Shrinath S. Mundhe, Srushti K. Gonjari, Diksha D. Jadhav, Onkar A. Londhe

681 - 685

Emphasizing Preparation & Development Using AI

Prof. K. N. Agalave, Vaibhavi Hivarkar, Ashwini Hole, Kanchan Lokhande, Neha Kokane

686 - 688

Animal Disease Prediction Using Machine Learning

Prof. P. P. Kulkarni, Kashid Jay, Kadam Pratik , Ingole Kshitij

689 - 692

Deep Fake Detection Using Deep Learning : For Image And Video And Audio

Mr. Jalindar N. Ekatpure, Surayajit Sidheshwar Ingavale, Rohit Shankar Jagtap, Neelam Sachin Jachak, Rutuja Madhav Kandekar

693 - 696

Video to Text Summarizer with Highlights and Quiz Generator

Mr. Jalindar N. Ekatpure, Jagadale Samiksha, Kargal Snehal, Lavand Sakshi, Yadav Sanika

697 - 699

Prediction of Cracks and Recognizing Its Patterns in Geopolymer Concrete Beams Using Machine Learning

Prof. G. G. Sayyad, V. M. Waste, S. H. Kharade, S. F. Shaikh, S. S. Thorat

700 - 703